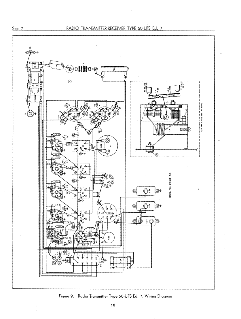
Link 50-UFS Low-Band VHF Tranceiver

Service Manual and Schematics

Home|Previous Page|Next Page

l0000000119.gif
142.38 Kb
837 x 1107

Page 20 of 26