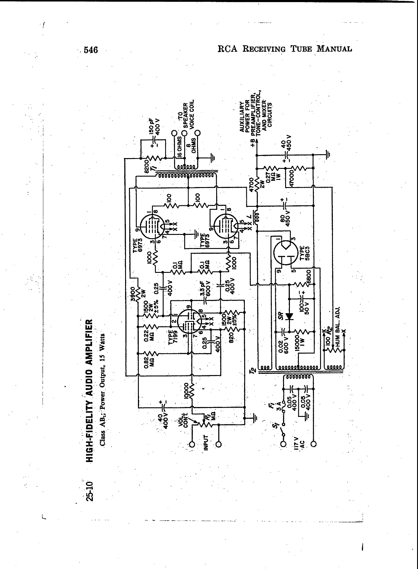
RC-25 Manual

Note: To go to a specific page, substitute the page number in the *.html portion of the url.
Navigation by Tube Number Prefix
Table of Contents

Home|Previous Page|Next Page

c07b.gif
98.52 Kb
2412 x 3280

Page 546 of 610