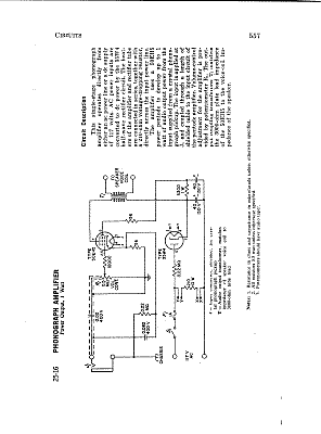
RC-25 Manual

Note: To go to a specific page, substitute the page number in the *.html portion of the url.
Navigation by Tube Number Prefix
Table of Contents

Home|Previous Page|Next Page

c13a.gif
109.28 Kb
2412 x 3280

Page 557 of 610