Meet Mr. Tucker

Home|Previous Page|Next Page

7ssbgen2b.jpg

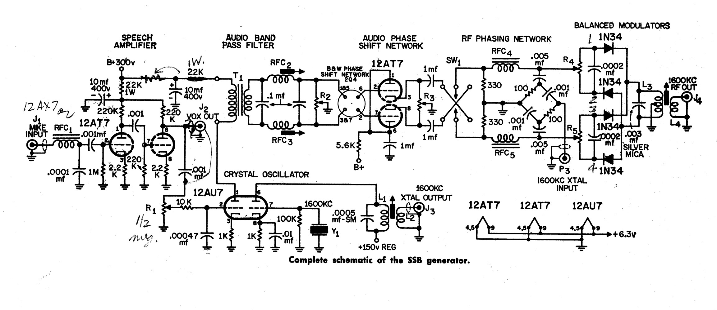
This is the schematic of the Longhorn SSB generator.

Page 7 of 11